관련링크
본문
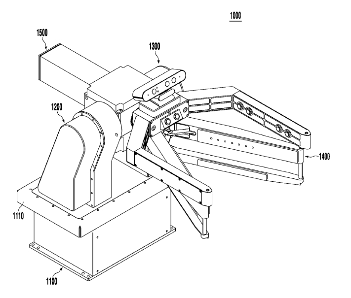
- 드론 스테이션
- 등록번호10-2023-0088580
- 분야특허
- 분류기계장치
- 판매가5,000,000 원
- 권리기간년 월 일
간략설명
본 발명은 드론 스테이션에 관한 것으로, 드론파지유니트의 파지암이 좌,우구동부와 피칭구동부 및 롤구동부에 의해
4축으로 위치가 조정되면서 클램프구동수단의 스텝모터유니트와 파지부동력전달수단에 의해 벌려지고 오므려지면서 차량에서 드론을 잡아서 보관 및 충전이 용이하도록 된 드론 스테이션을 제공함에 그 목적이 있다.



