관련링크
본문
- 수중승하강장치
- 등록번호10-2023-0049851
- 분야특허
- 분류기계장치
- 판매가5,000,000 원
- 권리기간2046 년 03 월 05 일
간략설명
요약
본 발명은 수중승하강장치에 관한 것으로, 특히 간단한 구조로 확실하게 승하강이 이루어짐은 물론, 수중지주프레임의 외측면과 내측면에 붙은 이물질을 제거할 수 있어서 오랜 기간 사용후에도 수중승하강장치의 승하강이 용이하도록 된 수중승하강장치에 관한 것이다.
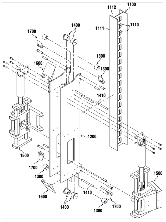
본 발명의 수중승하강장치(1000)는, 수중에 수직으로 설치됨과 더불어 길이방향으로 일정한 간격으로 4각관통구멍(1110)이 연속적으로 형성된 H자 형강으로 이루어진 수중지주프레임(1100)과, 수중지주프레임의 일측바닥면(1111)을 따라 상하로 이동할 수 있도록 밀착된 작업대캐리어(1200)와, 작업대캐리어의 상,하부에 회전가능하게 고정됨과 더불어 수중지주프레임의 일측바닥 안쪽면(1112)으로 구름마찰하도록 된 한 쌍의 지주내측롤러(1300)와, 상기 작업대캐리어(1200)의 상,하부에 끼워져 고정된 롤러축부재(1410)에 의해 회전가능하게 설치됨과 더불어 수중지주프레임(1100)의 일측바닥면(1111)으로 구름마찰하도록 된 지주외측롤러(1400)와, 상기 작업대캐리어(1200)의 좌,우측면에 각각 설치됨은 물론, 좌,우측이 번갈아 가면서 승하강유압실린더와 밀대실린더가 작동하여 좌,우측 클램프부가 수중지주프레임을 따라 상승 또는 하강을 할 수 있도록 4각관통구멍(1110)에 번갈아가면서 교대로 끼워지도록 된 승하강무빙수단(1500)을 포함한다.



