관련링크
본문
- 열방식 게이트 제거장치
- 출원번호10-2018-0033690
- 분야기타
- 분류기계장치
- 판매가5000000 원
- 권리기간2038 년 03 월 23 일
간략설명
등록결정상태이고 과태기간입니다. 등록료만 납부하면 등록이 가능한 상태입니다.
본 발명은 열방식 게이트 제거장치에 관한 것으로, 특히 열방식으로 게이트를 제거하여 분진이나 이물질이 발생
하지 않을 뿐만 아니라 코팅 또는 증착등의 후가공에서 불량이 발생하지 않음 물론, 바디조립체와 작업물에 맞는
카트리지조립체를 각각 별도로 구비하여, 작업물이 변경되면 빠르게 교환하여 사상하는 것이 용이하도록 된 식 게이트 제거장치에 관한 것이다.
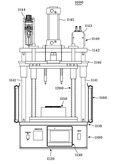
본 발명은, 전원스위치(1131)에 의해 전원을 공급하고 작동스위치를 ON한 상태에서 제품이 감지된 신호가 제어부
(1130)로 들어오면 제어부에 의해 작동하는 실린더(1145)에 의해 중간판(1146)이 승하강하도록 된 바디조립체
(1100)와; 바디조립체의 바닥판(1110)에 설치된 가이드핀(1111)에 하부가 위치결정되어 안착되고 상부가 바디조
립체의 상부판(1142)에 고정됨과 더불어 바디조립체의 중간판에 의해 가압되면 하강하고 상부판의 가압력이 해소
되면 상승하도록 된 카트리지상부판(1240)을 갖추는 한편, 카트리지상부판에는 카트리지바닥판(1210)의 작업물이
안착되는 지그수단(1220)에 안착되어 작업물을 탄력적으로 눌러서 고정할 수 있도록 된 작업물고정수단(1250)과,
바디조립체에 설치된 제어부에 의해 제어되면서 작업물에 돌출된 핀포인트게이트를 열방식으로 녹여서 일정높이
이하로 사상하도록 된 열방식게이트제거수단(1260)이 설치된 카트리지조립체(1200)를 포함한다.

